КОСМОДРОМ - Электронные компоненты для разработки и производства - Харьков - Украина
|
Серии источников питания HDR на DIN рейку с
ультра-узкой формой корпуса и полным диапазоном входного напряжения
100-240 В переменного тока 15, 30, 60, 100, 150 Ватт
HDR-15
HDR-30
HDR-60
HDR-100
HDR-150
|
 |
|
 |
| | | |  Нажми на картинку, чтобы увеличить ее

Фото может отличаться от реального вида предмета, но это не влияет на основные характеристики изделия | Трансформатор TEZ2/D/12V Трансформатор: залитый: 2ВА: 230ВAC: 12В: 166,6мА: PCB: IP00: TEZ
На складе ... код товара: 00-00081455
Кол-во | Цена без НДС, грн | Купить |
| Раздел: Трансформатор

| | | |
|
Производитель |
BREVE TUFVASSONS |
|
Тип трансформатора |
залитый |
|
Мощность |
2ВА |
|
Напряжение первичной
обмотки |
230В AC |
|
Вторичное напряжение
1 |
12В |
|
Ток вторичной обмотки
1 |
166,6мА |
|
Монтаж |
PCB |
|
Класс защиты |
IP00 |
|
Соответствуют норме |
PN EN 61558-1:2000, PN
EN 61558-2-1:2000, PN EN 61558-2-6:2000 |
|
Тепловой класс |
Ta60B |
|
Серия производителя |
TEZ |
|
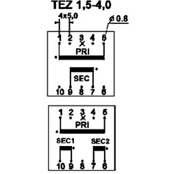
Выводы вторичной
обмотки |
7-9 |
|
Выводы первичной
обмотки |
1-5 |
|
Размер А |
28мм |
|
Размер А1 |
20мм |
|
Размер А2 |
20мм |
|
Размер В |
33мм |
|
Размер С |
24мм |
|
Испытательное
напряжение между обмотками |
4кВ/60с |
| | |






|
Поставляемые компоненты










|
^ Наверх DIV >
радиошоп, radioshop, радио, радиодетали, микросхемы, интернет, завод,
комплектующие, компоненты, микросхемы жки индикаторы светодиоды семисегментные датчики влажности преобразователи
источники питания тиристор симистор драйвер транзистор, диод, книга, приложение,
аудио, видео, аппаратура, ремонт, антенны, почта, заказ, магазин,
интернет - магазин, товары-почтой, почтовые услуги, товары, почтой, товары
почтой, каталог, магазин, Internet shop, база данных, инструменты, компоненты,
украина, харьков, фирма Космодром kosmodrom поставщики электронных компонентов дюралайт edison opto светодиодное освещение Интернет-магазин радиодеталей г.Харьков CREE ATMEL ANALOG DEVICES АЦП ЦАП