|
КОСМОДРОМ - Электронные компоненты для разработки и производства - Харьков - Украина
|
 |
| | | |  Нажми на картинку, чтобы увеличить ее

Фото может отличаться от реального вида предмета, но это не влияет на основные характеристики изделия | Преобразователь интерфейсов MCP23017 Black Board двунаправленный 16-битный расширитель ввода/вывода с интерфейсами IIC/I2C и SPI, поддержка тактовой частоты до 10 МГц. Временно нет на складе...
код товара: 00-00080869
Кол-во | Цена без НДС, грн | Купить |
| Раздел: Преобразователь интерфейсов

| | | |
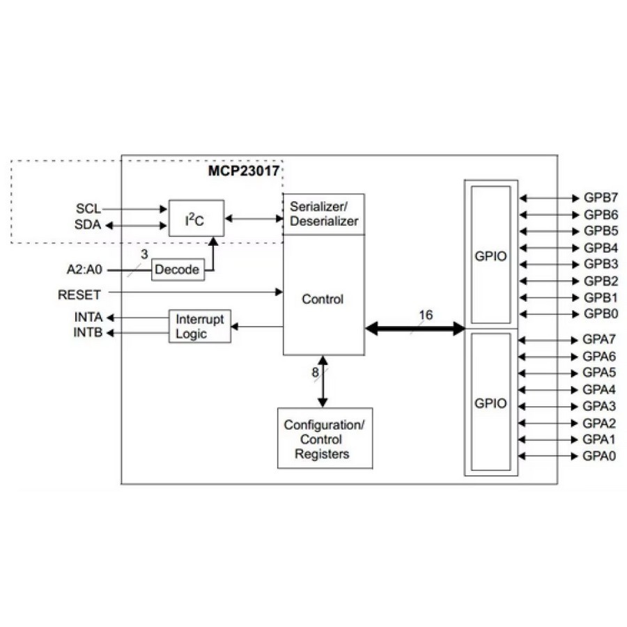
Двунаправленный 16-битный
расширитель ввода/вывода MCP23017 / MCP23S17 с интерфейсами I2C и SPI
является мощным инструментом для расширения возможностей ввода/вывода
микроконтроллеров. Благодаря поддержке двух интерфейсов модуль легко
интегрируется в существующие системы. Высокоскоростной интерфейс SPI с
максимальной частотой до 10 МГц обеспечивает быструю передачу данных и
эффективное управление периферией. Интерфейс I2C с диапазоном частот 100 кГц –
1,7 МГц предоставляет надёжное и экономичное решение для подключения нескольких
устройств к одной шине.
Микросхема MCP23017 — это не просто расширитель портов, а функциональное
решение с широкими возможностями. Настраиваемые выходы прерываний позволяют
выбирать активный высокий уровень, активный низкий уровень или режим открытого
стока, обеспечивая мгновенную реакцию системы на изменение состояния
входов/выходов. Регистр инверсии полярности даёт возможность гибко настраивать
логику входных данных, что делает модуль подходящим для самых разных задач.
Кроме того, внешний вход сброса упрощает проектирование системы и управление
модулем.
Микросхема MCP23017 рассчитана на длительную эксплуатацию и работает в
диапазоне температур хранения от –40 °C до +85 °C, что делает её надёжным
выбором для различных условий.
Низкий ток потребления в режиме ожидания (1 мкА) обеспечивает
энергоэффективность системы. Компактная конструкция и небольшой вес позволяют
использовать модуль как в любительских проектах, так и в промышленных решениях.
Благодаря качественным компонентам и прочному дизайну, MCP23017 является
надёжным выбором для расширения портов ввода/вывода микроконтроллера.
Основные характеристики:
Диапазон рабочих температур: –40 °C ~ +85 °C
Рабочее напряжение: 3,0–5,5 В
Частота связи IIC (I²C): до 1,7 МГц
Рабочий ток: 1 мкА
Размеры: 65 × 19 мм, монтажное отверстие M3
| | |




 |
Макетные платы односторонние
без маски
самый простой вариант макетной платы, когда устройство нужно собрать "на
коленке", быстро проверить его работу |
 |
Макетные платы- адаптеры
применяются для монтажа компонентов в различных корпусах |
 |
Макетные платы односторонние,
цвет маски желтый
простой вариант односторонних макетных плат, цвет маски - желтый |
 |
Универсальные адаптеры-переходники с нулевым усилием |
 |
Макетные платы односторонние,
цвет маски зеленый
простой вариант односторонних макетных плат, цвет маски - зеленый |
 |
Контактные
макетные платы
Весь перечень макетных плат |
 |
Макетные платы односторонние, цвет маски зелёный, луженные контакты
простой вариант односторонних макетных плат, цвет маски - зеленый, для
удобства монтажа компонентов контактные площадки покрыты слоем припоя |
 |
Отладочные платы и лабораторные комплексы |
 |
Макетные платы двухсторонние с металлизацией отверстий
высококачественные двусторонние макетные платы, имеется металлизация
отверстий, качественная печать, пригодны для самых различных применений |
 |
Программаторы |
 |
Соединительный и монтажный кабель
Комплекты из соединительных перемычек, монтажные кабеля в бухтах, шлейфы
с соединительными разъемами |
 |
Фольгированный стеклотекстолит для изготовления печатных плат |
|
Отладочные платы и лабораторные комплексы
При изучении программировании микроконтроллеров очень важно не
оставлять все в теории, а сразу же реализовывать идеи на практике.
Можно делать это по разному, например, тестировать в симуляторах или
собирать на макетной плате. Но самым удобным и способ ознакомления с
микроконтроллерами является отладочная плата. Отладочная плата - это
законченное устройство, в котором максимально задействованы все узлы
микроконтроллера, имеет органы управления и контроля и служит для
тестирования программ написанных для различных проектов. |
|
Поставляемые компоненты










|
^ Наверх DIV >
радиошоп, radioshop, радио, радиодетали, микросхемы, интернет, завод,
комплектующие, компоненты, микросхемы жки индикаторы светодиоды семисегментные датчики влажности преобразователи
источники питания тиристор симистор драйвер транзистор, диод, книга, приложение,
аудио, видео, аппаратура, ремонт, антенны, почта, заказ, магазин,
интернет - магазин, товары-почтой, почтовые услуги, товары, почтой, товары
почтой, каталог, магазин, Internet shop, база данных, инструменты, компоненты,
украина, харьков, фирма Космодром kosmodrom поставщики электронных компонентов дюралайт edison opto светодиодное освещение Интернет-магазин радиодеталей г.Харьков CREE ATMEL ANALOG DEVICES АЦП ЦАП