КОСМОДРОМ - Электронные компоненты для разработки и производства - Харьков - Украина
|
Уважаемые покупатели. Обратите внимание на наш график работы - 13 апреля 2026 года - выходной день. Далее работаем по графику. |
|
 |
| | | |  Фото может отличаться от реального вида предмета, но это не влияет на основные характеристики изделия | AD73360ARZ 2.7V~5.5V SPI 26.5mA 64kHz SOIC-28-300mil Analog Front End (AFE) RoHS
Временно нет на складе...
Производитель: ADI Тип корпуса: SOIC-28-300mil код товара:
Кол-во | Цена без НДС, грн | Купить |
| Раздел:
| | | |
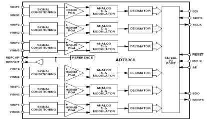
AD73360
- это микросхема аналогового входного интерфейса
с шестью входными каналами для универсального
применения в различных областях, включая
промышленные счетчики электроэнергии или
многоканальные модули ввода аналоговых сигналов.
Компонент содержит шесть 16-разрядных каналов
аналого-цифрового преобразования, каждый из
которых обеспечивает отношение сигнал-шум (SNR)
77 дБ в полосе речевых частот. В каждом из
каналов также имеется усилитель с
программируемым коэффициентом усиления (programmable
gain amplifier, PGA), который позволяет
регулировать усиление в диапазоне от 0 дБ до 38
дБ в восемь шагов.
AD73360
особенно хорошо подходит для промышленных
счетчиков электроэнергии, поскольку выборка
сигналов в каждом из каналов осуществляется
синхронно, благодаря чему гарантируется очень
маленькая задержка во времени (набег фазы) между
преобразованиями.
|
 |
|
Преобразование во
всех каналах AD73360
осуществляется с малой групповой задержкой. Для поддержки
однополярного питания в компоненте интегрирован источник опорного
напряжения. Уровень опорного напряжения программно выбирается для
работы с напряжением питания 3 В или 5 В. Частота дискретизации
также выбирается программно из четырех возможных значений: 64, 32,
16 и 8 кГц (все частоты формируются из задающего тактового сигнала,
имеющего частоту 16.384 МГц). Последовательный порт (SPORT)
обеспечивает простой интерфейс между одиночными или включенными
каскадно компонентами и стандартными цифровыми сигнальными
процессорами (DSP). Скорость передачи порта SPORT может
программироваться для взаимодействия как с быстродействующими, так и
с медленными DSP. AD73360
выпускается в 28-выводном корпусе SOIC и 44-выводном корпусе TQFP.
|
|
ОСОБЕННОСТИ И ПРЕИМУЩЕСТВА:
Шесть 16-разрядных АЦП
Программируемая частота дискретизации входного сигнала
SNR АЦП = 77 дБ
Максимальная частота дискретизации 64 тысяч отсчетов в секунду
Перекрестные помехи –83 дБ
Малая групповая задержка (25 мкс, тип. на канал АЦП)
Программируемое усиление входного сигнала
Конфигурируемый последовательный порт с возможностью каскадного
объединения нескольких устройств
Работает с однополярным питанием (от +2.7 В до +5.5 В)
Потребляемая мощность 80 мВт, макс. при 2.7 В
Интегрированный источник опорного напряжения
28-выводный корпус SOIC и 44-выводный корпус TQFP |
Основные характеристики:
|
Разрядность АЦП |
16 бит |
|
Кол-во измерительных каналов |
6 |
|
Потребляемая мощность |
80 мВт |
|
Диапазон питающих напряжений аналоговой части |
до 3 В |
|
Диапазон питающих напряжений цифровой части |
до 3 В |
|
Диапазон рабочих температур |
-40...85 °С |
|
| | | |
Поставляемые компоненты










|
^ Наверх DIV >
радиошоп, radioshop, радио, радиодетали, микросхемы, интернет, завод,
комплектующие, компоненты, микросхемы жки индикаторы светодиоды семисегментные датчики влажности преобразователи
источники питания тиристор симистор драйвер транзистор, диод, книга, приложение,
аудио, видео, аппаратура, ремонт, антенны, почта, заказ, магазин,
интернет - магазин, товары-почтой, почтовые услуги, товары, почтой, товары
почтой, каталог, магазин, Internet shop, база данных, инструменты, компоненты,
украина, харьков, фирма Космодром kosmodrom поставщики электронных компонентов дюралайт edison opto светодиодное освещение Интернет-магазин радиодеталей г.Харьков CREE ATMEL ANALOG DEVICES АЦП ЦАП