ATtiny26, ATtiny26L
8- битный AVR микроконтроллер c 2 Кбайт FLASH памятью программ
Характеристики:
- Высокая производительность при малом потреблении
- RISC архитектура
- 118- команд, большинство исполняемых за один машинный такт
- 328 рабочих регистра общего назначения
- Полностью статический режим
- 16 MIPS производительность при 16 МГц
- Память
2К байтов FLASH памяти программ с внутрисистемным программированием
1000 циклов записи- стирания
128 байтов EEPROM c внутрисистемным программированием
100 000 циклов записи- стирания
128 байтов внутренней SRAM
Программируемый ключ доступа к программам и памяти данных
- Периферия
8- битный таймер/счётчик с программируемым предделителем
8- битный скоростной делитель с программируемым предделителем
2 скоростных ШИМ выхода с отдельным выходным регистром сравнения
не совмещённый выход инверсной ШИМ
- Универсальный последовательный интерфейс с детектором старта
- 10- бит АЦП
11 простых униполярных входа
8 дифференциальных входа
7 дифференциальных входа с программируемым усилением ( 1, 10 )
- Встроенный аналоговый компаратор
- Внешние прерывания
- 11 прерываний по изменению потенциала вывода
- Программируемый Watchdog с переключаемымим генераторами
- Специальные функции контроллера
- Режим экономии энергии, режим подавления шума, режим Выкл.
- Сброс при включении и понижению напряжения питания
- Внешние и внутренние источники прерывания
- Внутрисистеммное программирование через SPI порт
- Внутренний калиброванный RC генератор
- 20- выводной корпус PDIP или SOIC
- 16 программируемых входа-выхода
- Рабочее напряжение питания:
2.7 В до 5.5 В ATtiny26L
4.5 В до 5.5 В ATtiny26
- Рабочая тактовая частота:
0- 8 МГц ATtiny26L
0-16 МГЦ ATtiny26
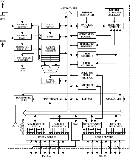
Блок- схема:

Расположение выводов:
 
Описание:
ATtiny26/L является КМОП 8- битным микроконтроллером построенным на расширенной AVR RISC архитектуре. Используя команды исполняемые за один машинный такт, контроллер достигает производительности в 1 MIPS на рабочей частоте 1 МГц, что позволяет разработчику эффективно оптимизировать потребление энергии за счёт выбора оптимальной производительности.
AVR ядро сочетает расширенный набор команд с 32 рабочими регистрами общего назначения. Все 32 регистра соединены с АЛУ, что обеспечивает доступ к двум независимым регистрам на время исполнения команды за один машинный такт. Благодаря выбранной архитектуре достигнута наивысшая скорость кода и соответственно высокая производительность в 10 раз превосходящая скорость соответствующего CISC микроконтроллера. ATtiny26/L содержит прецизионный АЦП с 11 простыми и 8 дифференциальными каналами. 7 дифференциальных каналов имеют 20-и кратное дополнительное усиление. Четыре выхода семи дифференциальных входа, имеющие дополнительное усиление, могут использоваться одновременно. Микросхемы содержат так- же высокоскоростные 8-и битные модули ШИМ с двумя независимыми выходами.
ШИМ генераторы имеют два не совмещённых инверсных выхода, что идеально подходит для их использования в синхронных выпрямителях. Универсальный последовательный интерфейс эффективно исползуется для построения программных двух проводных интерфейсов или SM-bus. Данные характеристики могут успешно применяться для построения батарейных зарядных устройств высокой степени интеграции, электронных балластов устройств освещения, законченных термостатов и многих других применений.
ATtiny26/L содержит 2Кбайт FLASH памяти программ, 128 байт EEPROM, 128 байт SRAM, до 16 выводов цифровых входов/выходов общего применения, 32 рабочих регистра, 2 8- битных таймера-счётчика, один с выходом ШИМ, внутренний и внешний генератор тактовой частоты, внутренние и внешние прерывания, программируемый Watchdog таймер, 11-и канальный, 10-и битный АЦП с двух уровневым усилителем дифференциального сигнала, и четырьмя режимами сбережения энергии. В режиме ожидания ЦПУ не функционирует в то время как функционируют таймеры/счётчики и система прерываний. В ATtiny26 существует специальный режим подавления шума АЦП, при этом в целом в спящем режиме функционирует только АЦП. В режиме Выкл. процессор сохраняет содержимое всех регистров, замораживает генератор тактовых сигналов, приостанавливает все другие функции кристалла до прихода внешнего прерывания или поступления внешней команды Reset. Второй режим ожидания практически повторяет режим Выкл. но доступен внешний генератор тактовых частот. Благодаря быстрому переходу в нормальный режим работы в том числе и по внешнему прерыванию ATtiny26 успешно приспосабливается к внешним условиям работы и требует меньше энергии, чащще оказываясь в режиме Выкл.
Микросхемы выпускаются при использовании Atmel технологии энергонезависимой памяти высокой плотности. Комбинация расширенной 8- и битной RISC архитектуры ЦПУ и твёрдотельной FLASH памяти обеспечивают ATtiny26 высокую гибкость и экономическую эффективность во встраиваемых системах управления. |